医疗器械创新网

logo

距离创新创业大赛报名结束
48
16
37

会员登录

用户登录 评委登录
一周内自动登录 建议在公共电脑上取消此选项
一周内自动登录 建议在公共电脑上取消此选项
一周内自动登录 建议在公共电脑上取消此选项
手机验证码登录 还未账号?立即注册

会员注册

已有账号?
医疗器械创新网
医疗器械创新网

最新!二尖瓣成形环获批NMPA!

日期:2023-12-25
2023年12月22日,佰仁医疗(688198)发布公告称,公司自主研发的二尖瓣成形环产品注册申报获得国家药品监督管理局批准(国械注准20233131974),这是公司现有瓣膜成形环的二尖瓣成形环升级产品。

#医疗器械创新网

该产品是在公司原有瓣膜成形环产品大量用于国内患者二尖瓣修复的床实践经验的基础上, 采用半硬生理环结构设计弹性合金材料加工制造, 对标进口最新一代二尖瓣成形环, 不仅可获得好二尖瓣成形效果,同时兼顾瓣膜病患者全生命周期管理理念, 适应未来可能需要接续环中瓣再介入治疗的需求而研发的升级换代产品。

瓣膜成形环(仅作示意,图源:佰仁医疗官网)

瓣膜成形术始于上世纪六十年代,主要解决因各种原因引起的瓣叶对合不良导致的心脏瓣膜返流,通过瓣膜成形手术和瓣膜成形环的植入获得稳固的矫治,使自身瓣叶恢复正常对合关系,以消除关闭不全,从而达到修复瓣膜功能的治疗目的。

正常瓣膜与病变瓣膜示意图(图片来源:网络)

瓣膜成形环作为一种植入器械不同于人工心脏瓣膜,其研发与临床应用需要经历不断探索、 改进与完善的过程。

公司瓣膜成形环产品于 2005 年 1 月首次获准注册上市,填补了国内瓣膜修复产品的空白。上市近 19 年来,累计约 10 万余患者通过该产品的植入,修复了瓣膜功能而免于瓣膜置换, 推动了瓣膜成形术在国内的开展与普及。 

长期以来公司瓣膜成形环产品市场占有率一直稳居领先地位, 随着二尖瓣退行性病变患者逐年增加, 瓣膜修复理念被广泛接受以及瓣膜成形手术技术的推广,二尖瓣成形手术量逐年加速上量, 期待新注册的二尖瓣成形环将为患者提供更好的治疗效果。

至此,升级后的二尖瓣成形环与公司去年注册的新三尖瓣成形环一起,完成了国产品牌二尖瓣和三尖瓣修复产品的升级, 高端产品全面实现国产替代又上一个新台阶。
#公司介绍

佰仁医疗成立于2005年,是一家致力于动物源性植介入高值医疗器械研发与生产的高新技术企业,于2019年12月成功登陆上海证券交易所科创板。

该公司自主研发动物组织工程和原创化学改性处理技术,是国内技术领先的动物源性植介入医疗器械研发平台企业,产品覆盖心脏瓣膜置换与修复、先天性心脏病植介入治疗以及外科软组织修复三大领域。

佰仁医疗拥有原创性的动物组织工程和化学改性处理技术,可使处理后的动物组织植入人体后抗排异、抗钙化、长期满足预期治疗要求。公司使用该技术生产的人工生物心脏瓣膜——牛心包瓣于2003年获得注册,是国内最早注册、目前唯一有长期循证医学数据的国产产品

依据平台技术,佰仁医疗延伸开发了生物补片类产品,应用于循环系统修复、胸外气管与肺组织修复、硬脑(脊)膜修复以及疝修复等并将进一步向眼科、血管外科等延伸应用。

佰仁医疗创新实力强大,公司人工生物心脏瓣膜(牛心包瓣、猪主动脉瓣)、肺动脉带瓣管道、瓣膜成形环、心胸外科生物补片、神经外科微血管减压垫片、流出道单瓣补片7项产品均为国内首个获准注册的国产同类产品。

#公司主要产品

目前佰仁医疗产品覆盖心脏瓣膜置换与修复、先天性心脏病植介入治疗以及外科软组织修复三大领域。

心脏瓣膜置换与修复:

先天性心脏病植介入治疗:

外科软组织修复:

#专利信息

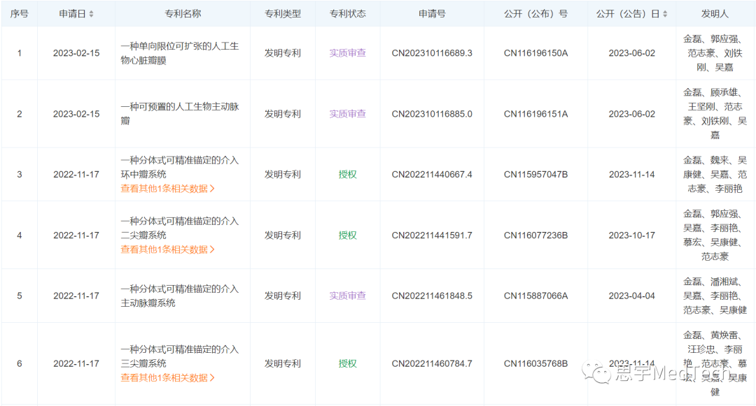
截至发稿日,查询公司已有专利42项,最新的6项专利如下:

返回列表
医疗器械创新网网 医疗器械创新网网 医疗器械创新网网 医疗器械创新网网 医疗器械创新网网